Autor:editor do site Publicar Time: 2026-04-23 Origem:alimentado
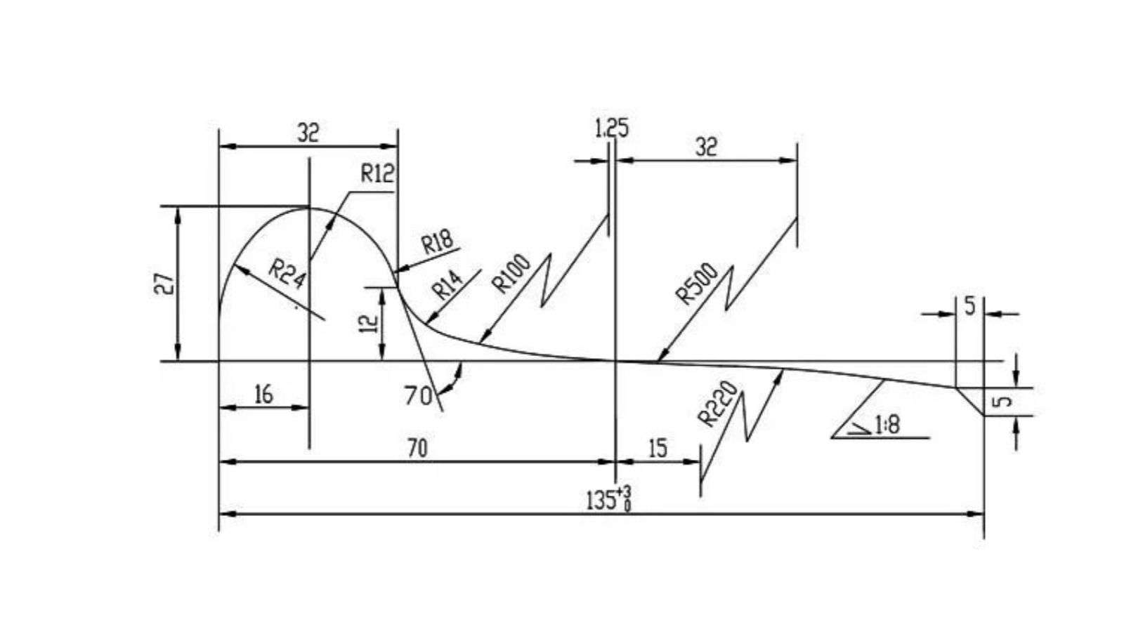
O projeto do flange e do perfil da banda de rodagem de uma roda ferroviária desempenha um papel crítico para garantir a operação segura e eficiente do trem. Uma geometria de contato roda-trilho bem combinada não apenas reduz o desgaste e a tensão, mas também melhora a estabilidade geral de funcionamento e o desempenho na negociação de curvas.
Ao projetar o perfil da banda de rodagem, é essencial garantir a compatibilidade adequada com o formato da cabeça do trilho. Uma interface roda-trilho ideal pode efetivamente reduzir a tensão de contato e minimizar o desgaste, o que contribui diretamente para:
· Melhor desempenho ao passar por curvas
· Redução da frequência e custo de manutenção
· Aumento da velocidade crítica para a estabilidade do trem
Além disso, o perfil da banda de rodagem recém-projetado deve corresponder ao perfil desgastado em condições reais de operação. Isto ajuda a reduzir a quantidade de remoção de metal durante o reperfilamento, prolongando assim a vida útil da roda e reduzindo os custos de manutenção.

O flange é um recurso de segurança fundamental que evita o descarrilamento. Sua altura e geometria devem ser cuidadosamente controladas:
· Altura do flange: normalmente varia entre 26 mm e 30 mm
· Muito baixo: aumenta o risco de descarrilamento
· Muito alto: pode causar interferência nos componentes do trilho, como parafusos ou ressaltos da placa de fixação, especialmente quando o desgaste da banda de rodagem é significativo
Para uma passagem segura através de desvios, diâmetros de rodas menores geralmente exigem alturas de flange mais altas.
O ângulo do flange também é crucial. A superfície externa do flange deve manter um ângulo apropriado com o plano horizontal:
· Ângulo muito pequeno: Maior risco de subida da roda (descarrilamento em baixas velocidades)
· Ângulo muito grande: Aumenta a remoção de usinagem durante o reperfilamento e pode causar contato entre o topo do flange e o trilho sob condições de ângulo de ataque

O perfil da banda de rodagem é determinado principalmente pelas condições da via e pela velocidade de operação do trem, e não pelo projeto estrutural da roda. Quando não há alterações significativas na infraestrutura da via ou na velocidade operacional, o perfil da banda de rodagem normalmente permanece inalterado – mesmo que a estrutura da roda seja modificada.
Na maioria dos casos, são adotados perfis de piso padronizados para garantir compatibilidade e confiabilidade em todos os sistemas ferroviários.
O projeto do flange da roda ferroviária e do perfil da banda de rodagem é um aspecto vital da segurança e do desempenho do trem. Ao otimizar a interação roda-trilho, controlar as dimensões dos flanges e alinhar o design da banda de rodagem com as condições operacionais reais, os operadores ferroviários podem aumentar significativamente a eficiência operacional, reduzir o desgaste e melhorar a segurança geral.